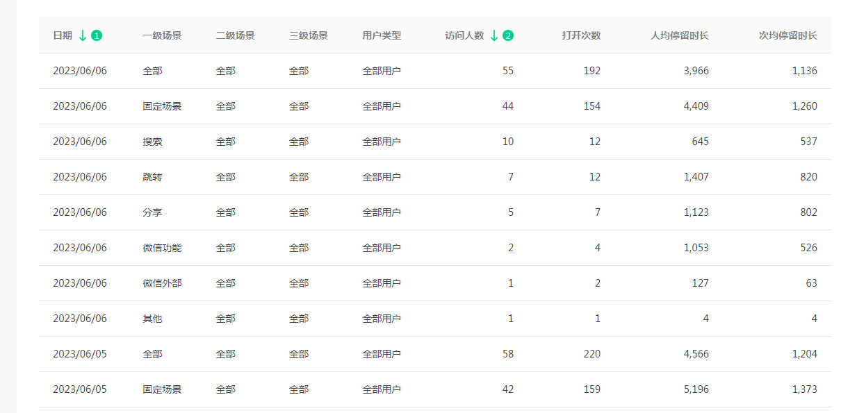
下面是数据,目前新用户也就那样了,半死不活,老用户感觉也那样,不多不少。大伙给个诊断吧,是一刀宰了还是输点血?
这没内购,纯广告,算下来平均一人看一个广告才能55个人收2块。几乎没有分享裂变。人均up4分,不买量的次留22%,估计一买量次留能有7%就不错了.。如果一个量5毛,应该也不会这么便宜吧,那一个次留成本是7块,就算他留下了就再也不走了,按你这个日人均收入买一个量要180天回本。基本上不可能吧,人家能来玩个10天不跑可能就谢天谢地了。
这么算,没内购买量就是陷阱呐。腾讯真黑,把ecpm压那么低,如果ecpm提高10倍,咱们开发者还好过些
主要是一个点击总共也就收1块钱。ecpm是按播放次数算,一次播放其实也没多少钱可以分。
没内购就去做裂变,裂变不起来就不用考虑买量了。但裂变就更难了。所以个人开发者几乎不用考虑买量。
别老想着买量,把产品做好先
1赞
马化腾自己都说买量是陷阱以后不做买量了
1赞
曝光率太低了,广告提前拉,要的时候就可以直接放出来了,不然还要等加载。可以提升一点曝光量和ecpm。另外广告质量也和你游戏体量有关系,广告质量高ecpm才能高。不过到30就别想了,买量一个点击能出两三块钱就不错了,他不要钱全部给你也不会超过30的。




